Windyium

Uses free wind with frictionless levitating repelling Neodymium magnets to
spin dry clothes, spin a container or create free energy/electricity.

Frictionless Rotating Hanger

hanger

1 - A few years ago I thought of a much faster way to dry my jeans inside or outside using wind and not paying the cost of an electric clothes dryer, air conditioner or inside heater.

Using free wind with Neodymium magnets
 I invented.

 US patent # 11,519,551

issue date December 6, 2022.


Abstract reads -
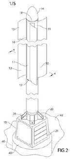
A rotating hanger device includes a tube made of non-magnetic material and a rod supported within the tube via magnetic levitation assembly.

See Frictionless Rotating Hanger on youtube.com


Neodymium magnets have a life span of 100 years when maintained correctly.

04/23/2023 - I counted 10 complete revolutions per minute hanging a 24" by 46" bath towel(narrow side up/down) and 15 complete revolutions per minute hanging a pair of my jeans in front of an under window wall mounted heater.

06/13/2024 - I made a smaller version of above with some changes.

07/19/2024 - A couple of years now using my Frictionless Rotating Hanger and yesterday I was shocked to try something I could have done or mentioned in my patent. 
Amazing is best way to describe it.

02/01/2025 - There is another way to construct a clothes hanger and it could qualify for a US design or utility patent.  New hanger spins and dries clothes faster at 1 revolution every 3 seconds using my Frictionless Rotating Hanger patent.

10/10/2025 - There is now a third alternative to above two modifications.


























Frictionless Spinning Device

container

2 - While Frictionless Rotating Hanger application was being examined I thought why not a Continuation-In-Part?

Frictionless Spinning Device levitates and repels Neodymium magnets spinning
brand- name beer, soda, water or like container shapes.

US patent # 11,686,285
issue date June 27, 2023

Abstract reads -
A spinning device includes a blade assembly including a hollow body, and a rod coupled to the hollow body and supported via a magnetic levitation assembly.

See Frictionless Spinning Device videos Arrowhead,  Essentia,  Organic Oats and Pellegrino on youtube.com

my other web sites
earbudme.com.
lockinventor.com
myUSpatents.com
padlock-security.com
securityanchor.com
securityanchors.com
snaptrap-it.com
soappumpdispenser.com

Click  email  sends me an email.

YouTube        

My US granted patents available for licensing or sale to manufacturers or marketers.
Frictionless Spinning Energy Device

fsed

3 - November 2022 I thought to innovate a simple way to create free energy using wind.

No A.I. - Just me

Using the equation, E = mc2. 
E is energy/electricity, m are magnets/Neodymium and c2 is open wind speed in miles per hour squared.

I requested a second Continuation-In-Part  using my previous two Frictionless patents to generate free energy/electricity using free wind.

US patent # 11,939,963
issue date 03-26-2024

Abstract reads -
A spinning device comprising a blade assembly includes a hollow body, and a rod coupled to the hollow body and supported via a magnetic levitation assembly is configured to generate energy.

Updates -

03/27/2024 - Hail cripples massive solar farm.

04/21/2024 - More good news from USPTO.

05/10/2024 - Some US states or countries in 2025 will begin to charge those using electricity for their business, EV, farm or home a monthly windy tax.  My US patent generates free electricity however in 2027 there could be a wind use fee!

02/26/2025 - I made a few changes to update Frictionless Energy for a new nonprovisional utility patent application.

11/18/2025 - Another use option for Windyium is to supply electricity to campers in remote tents and lots of wind. Thanks to Devan.

12/30/2025 - Spinning Energy Device -
US patent # 12,510,051 issued today.